Торсион на вагоне (9 фото)

554
0
Люк вагона полувагона
Люк вагона полувагона

Закидка люка полувагона чертеж
Закидка люка полувагона чертеж

Ржавые детали вагона
Ржавые детали вагона

Срывной клапан 81-717
Срывной клапан 81-717

Неисправности разгрузочных люков полувагона
Неисправности разгрузочных люков полувагона

Фитинговые упоры грузового вагона
Фитинговые упоры грузового вагона

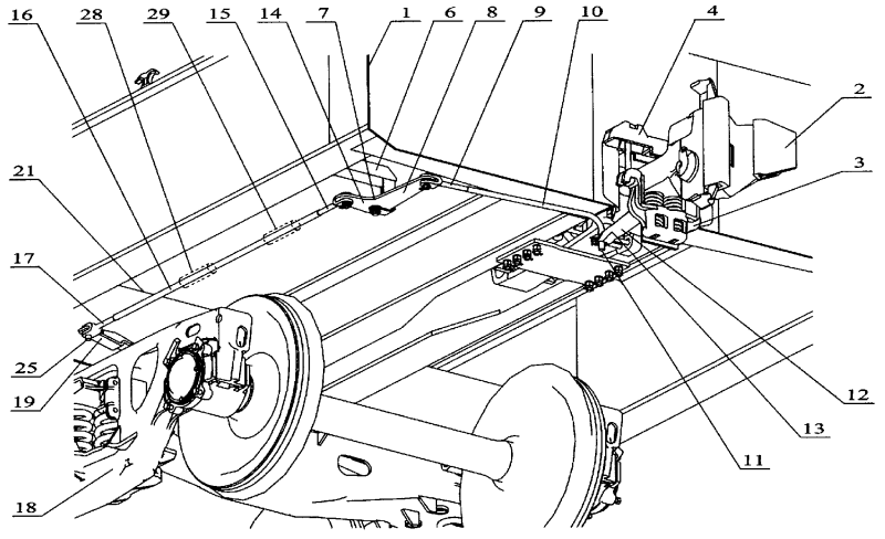
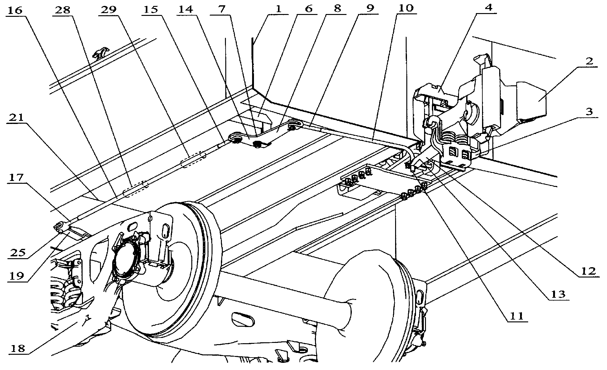
Теклежка моторного вагона эп2д
Теклежка моторного вагона эп2д

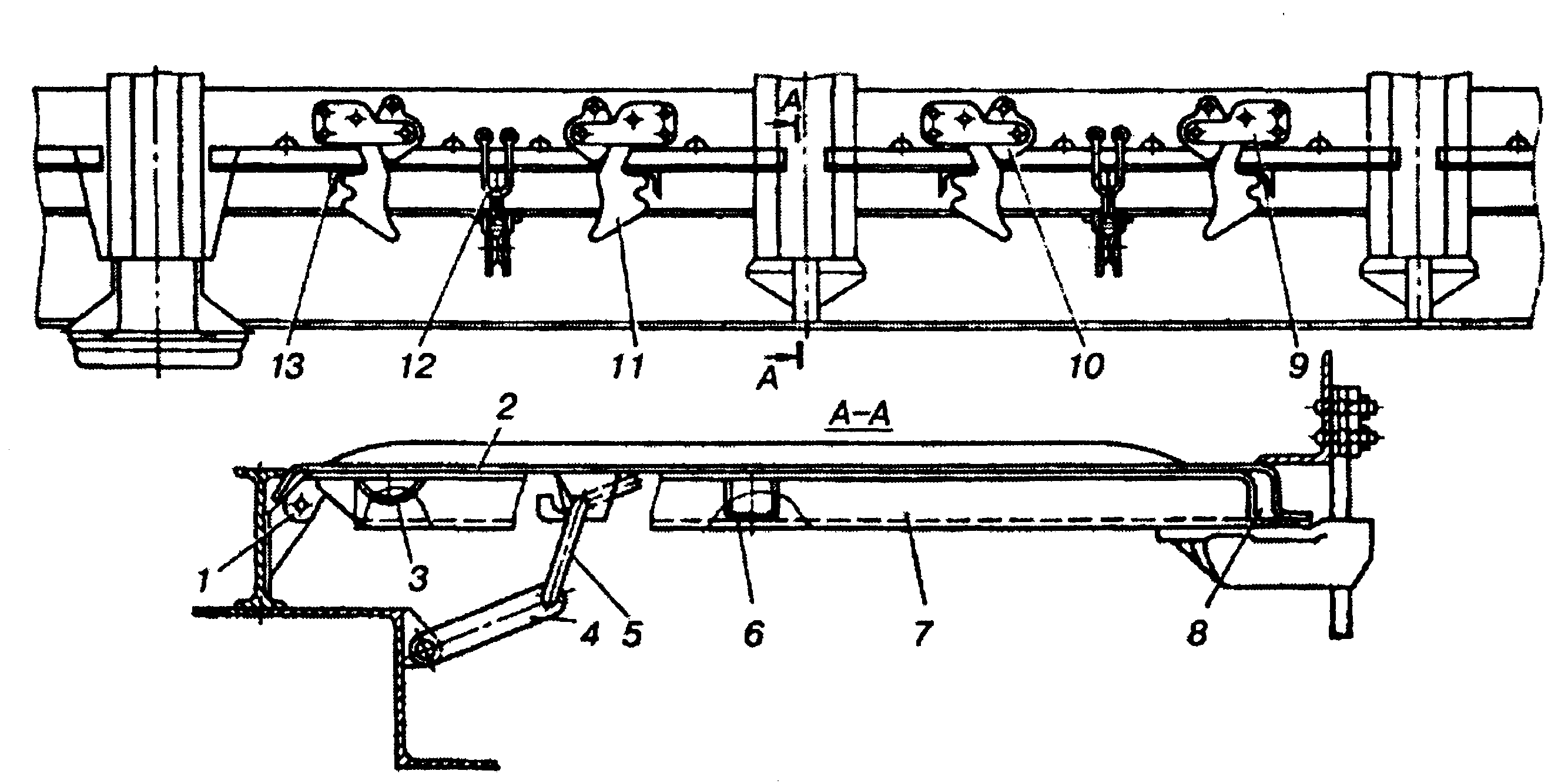
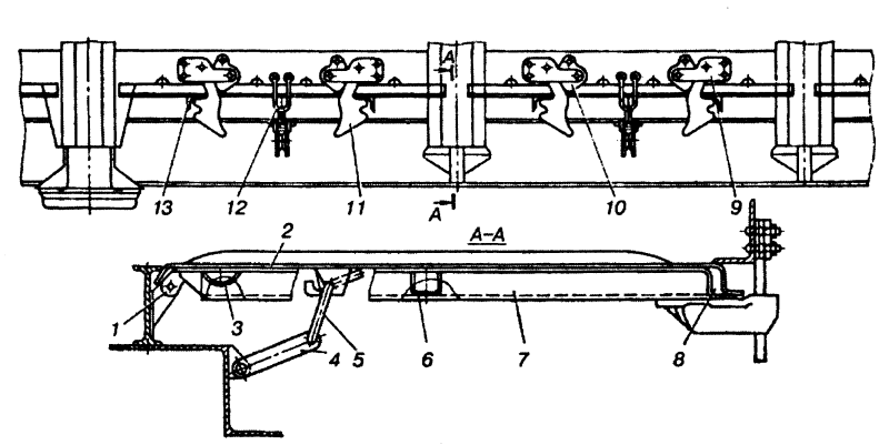
Балочка авторежима грузового вагона чертеж
Балочка авторежима грузового вагона чертеж

Комментарии (0)
Это код:
Кликните на изображение чтобы обновить код, если он неразборчив
Введите сюда: